Patent Title: FILAMENT WINDING PROCESSES USING POLYURETHANE RESINS AND SYSTEMS FOR MAKING COMPOSITES
Number/Link: W2016183073
Applicant/Assignee: Covestro
Publication date: 17-11-2016
“Gist”: Compositions comprising polymeric MDI, amine-initated polyethers and natural oil polyols are useful for filament winding
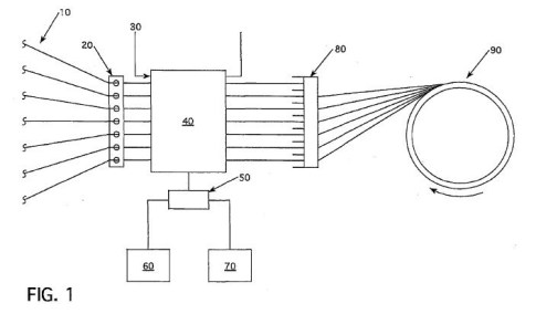
Why it is interesting: Filament winding is a process for the production of hollow composite structures whereby resin-impregnated fibers are wound on a mandrel and then cured. Typically the fibers are impregnated with polyesters or epoxies. Polyurethane compositions are difficult to use in this process because of reactivity and moisture sensitivity. According to this invention an isocyanate reactive composition comprising at least 50% high functionality amine-initiated polyether polyols and up to 50% of a hydrophobic OH-functional vegetable oil, can be advantageously used for PU filament winding. In the examples blends of 3 and 4-functional amine-initated polyether polyols with mole weight of about 250, castor oil, or OH-functional soy-oil, are used together with a high 2,4′ polymeric MDI.

