Title: TYRE, THE INNER WALL OF WHICH HAS A LAYER OF SPECIFIC POLYURETHANE FOAM
Number/Link: WO2013/182477 (French)
Applicant/Assignee: Michelin
Publication date: 12-12-2013
“Gist”: A layer of flex foam is used to reduce cavity noise in car tyres, the foam being prepared form high EO polyol and 4,4′ MDI.
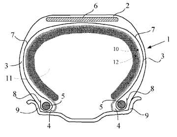
Why it is interesting: An important component of the noise produced by driving vehicules is attributed to resonances in the tyre cavities. It is know that this noise can be reduced by (partly) filling the tyre cavity with PU foam, but the foams are difficult to apply, add too much weight and do not show enough sound absorption. According to this invention these problems can be solved by adhering a layer of a specific flexible foam to the inside of the tire. The foam has a low density (30 to 60 kg/m³), and absorbs sound at the correct frequency for cavity resonances (190-230Hz). It is prepared from a prepolymer based on a 70-90% EO polyol and 4.4′ MDI, which is mixed with water and catalyst. The reacting mixture is poured into a spinning tyre where it cures and adheres to the inside of the cavity.
This foam -inlcuding the prepolymer- was actually invented by myself in 1991: EP547765

